Strip Gutting Gauge
Thin strips should be cut on a table saw with the wide board against the fence and the fence moved in for each cut, however it is difficult to accurately adjust the fence for each strip to be the same thickness. This gauge allows you to simply slide the fence over until the stock hits the guide. Because there are so many different types of table saws I have not given any measurements for the lengths of the parts, this should be obvious when the strip is in the miter slot.

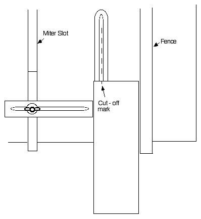
Cut a stip that fits snuggly in the miter slot of the table, cut 3/4" off the end and glue it to the bottom of the strip, place the strip in the miter slot so the stop on the bottom rests against edge of table. Mark the position to drill the hole for the guide so it is positioned behind the saw blade. Before drilling the hole flip the strip over and with a 5/8" spade bit drill a pocket for the bolt head about 1/8" deep, then drill 1/4" hole for bolt. Cut a slot in a piece 1 1/2" wide that is long enough to extend to line up with the saw blade, fasten with a 1/4" carriage bolt, washer and thumb screw.

Mark the width of the strip to be cut on the material, set fence, then place gauge in miter slot and adjust guide to touch material. Remove gauge, make the cut, insert gauge, slide fence over, remove gauge and continue in this manner.