Router Dado Guide
This is a guide to cut dados to an exact width by making multiple passes. the capacity of this jig is 12" wide boards, to cut wider boards make the side guides at least 6 1/2" longer than the width of the board.

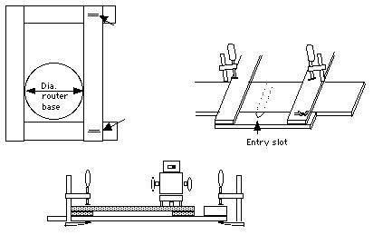
STEP 1
Cut the four pieces of 3/4" thick material to the sizes in the material list. Fasten one of the 18 1/2" long side guides on top of the two 14" pieces with glue and screws, making sure the corners are exactly square.
STEP 2
Cut slots in both ends of the second 18 1/2" long piece as shown below by drilling 1/4" holes at the end of the slots and cut between the holes with a saber saw.

STEP 3
Position slotted guide parallel to fixed guide at a distance equal to the diameter of the router base, mark holes at outer ends of slots, drill 1/4" holes and install bolts washers and wing nuts.

STEP 4
To cut the entry slot in the front board, clamp guide to a piece of plywood, clamp a piece of 2X4 leaving a space of 1 1/2" between it and the front of the guide. With the movable guide strip in the outermost position and using the largest bit that will be used for dado cutting, place the router ahead of the front strip and rout a slot pulling the router back to the 2X4 and side ways to both side guides.
TO SET WIDTH OF DADO
Cut a spacer, plywood or hardboard, 15" long and the width of the router base less the width of the bit.( If you are using a 1/2" bit and the router base is 6" wide, cut the spacer 5 1/2" wide.) Insert the spacer and the board that fits into the dado on edge between the two guides, slide the movable guide in so it is snug and tighten the wing nuts. Mark and save this spacer for future use.

TO USE THE GUIDE

Place a mark even with the left edge of the entry slot, mark the size of the bit used to cut the entry slot above it. Place marks for smaller size bits to the right of original mark, 1/2 the difference of the size away from it. To line up the guide use a Try Square positioned at the size mark of the router bit being used and line it up with the position of the left side of the dado. Clamp the guide to the board, set router bit depth, insert router into entry slot and make cut between both sides of guide. It is a good idea to make a test run on a piece of scrap material so any adjustments can be made if necessary.